找回密码
 立即注册
澳门威尼斯人
U8
U18
海燕招商
A
蓝盾
e世博
islot.
申博亚洲
B
开云
腾博会
德信
C级广告商
吉祥坊
华体会
查看: 161624|回复: 43

[彩票] 【实战有奖】今晚到九五至尊玩了DB幸运飞艇输了一点

[复制链接]

1211

主题

3万

回帖

783

金币

铂金用户

积分
91301

老会员交易勋章光影行者

发表于 2024-5-30 20:19 | 显示全部楼层 |阅读模式

马上注册,结交更多好友,享用更多功能,让你轻松玩转社区。

您需要 登录 才可以下载或查看,没有账号?立即注册

×
                今天晚上又去了九五至尊玩了彩票的啊。今晚的运气没有那么好,但是也没有那么差,基本算是平手。因为只是输了一点水钱罢了。
. F0 j& Q" b# B9 i6 ^. O4 f8 O1 n+ |- C" c4 @
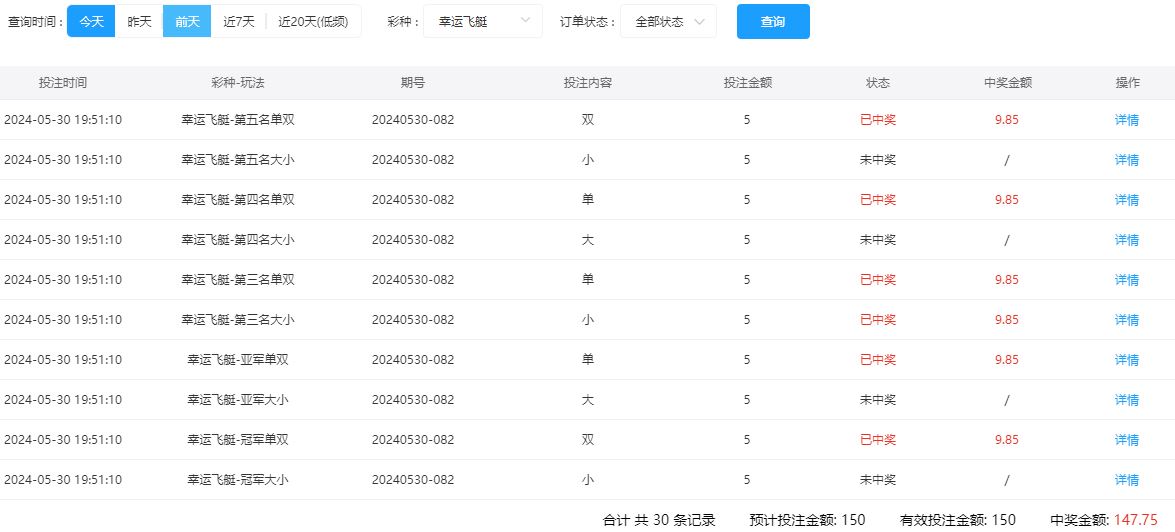
                今晚选择的游戏是DB平台的幸运飞艇。这个游戏开奖的速度慢,所以还是可以下注多单的了。我选择了冠军到第五名来玩,下注大小和单双,每期下注10注,每注5元,一共50元一期。第一期运气不佳,只是中了4注,第二期不错,中了5注,第3期还是中了6注。这样算下来,胜负五五分,就是持平了。所以还是没有什么损失的。但是也没有盈利。暂时也就这样算了。
; N9 w, ?' J! Z) U0 ]               应该说,如果想玩的时间再长一点,那是可以继续再搞几期,但是如果只是想打打流水的话,那这样就足够了。第一期我是输了,第二期还是没有回本,第3期基本回本了。所以,这样的一个结果就是可以接受的啊。多少次,我没有做到见好就收,吃了亏,说真的真是不应该再恋战的啊。其实,我们玩游戏,每次实际上不应该定一个什么盈利的目标,而是应该定一个流水的目标,就是完成多少流水就要撤退了。就要收工了。不管是胜,是败,都不可以恋战的了。如果你要完成一个盈利的目标而又完不成,那么你的心态就会不稳,你的理智就会迷失。所以,不如只是完成相应的流水就行。毕竟这个流水的目标比起盈利的目标应该是比较好完成的。而且也不至于让你冲动的啊。
* A3 d! I% ~+ S8 n4 T" s3 b3 X 1.JPG 2.JPG 3.JPG 4.JPG
" N: B7 E/ x- {# S
  x; X5 o+ J- M6 W9 t
回复

使用道具 举报

0

主题

9811

回帖

4709

金币

金牌会员

积分
30939

老会员

发表于 2024-5-30 20:29 | 显示全部楼层
输钱的时候,都是不会高兴的,希望楼主以后能够打回来的。
回复 支持 反对

使用道具 举报

113

主题

8759

回帖

7605

金币

金牌会员

积分
27165

老会员

发表于 2024-5-30 20:41 | 显示全部楼层
一错就输的太多了,也是非常的遗憾啊,没有办法了
回复 支持 反对

使用道具 举报

113

主题

8759

回帖

7605

金币

金牌会员

积分
27165

老会员

发表于 2024-5-30 20:42 | 显示全部楼层
你说的都对 发表于 2024-5-30 20:29
5 A5 }4 S; W. @输钱的时候,都是不会高兴的,希望楼主以后能够打回来的。

0 _( r6 h) o' a+ w# A我觉得楼主每天都玩,赢的时候还是非常的多
回复 支持 反对

使用道具 举报

113

主题

8759

回帖

7605

金币

金牌会员

积分
27165

老会员

发表于 2024-5-30 20:43 | 显示全部楼层
你说的都对 发表于 2024-5-30 20:29
. ~" h: |) A* C# {1 K% g; L, ]输钱的时候,都是不会高兴的,希望楼主以后能够打回来的。

) L6 I$ O1 W5 {# Q2 J9 O5 c! i我觉得楼主每天都玩,赢的时候还是非常的多
回复 支持 反对

使用道具 举报

801

主题

2万

回帖

1万

金币

铂金用户

积分
95086

老会员精华勋章魅力达人

发表于 2024-5-30 21:22 来自手机 | 显示全部楼层
楼主说的是啊,我们菠菜真的不能定盈利目标,定流水目标还是比较容易完成的。
回复 支持 反对

使用道具 举报

801

主题

2万

回帖

1万

金币

铂金用户

积分
95086

老会员精华勋章魅力达人

发表于 2024-5-30 21:24 来自手机 | 显示全部楼层
梅球王 发表于 2024-5-30 20:41
" c; ^2 ?" g6 S9 v$ O5 l一错就输的太多了,也是非常的遗憾啊,没有办法了

/ h! A0 x4 ^/ m2 I( X# h; f# u. V其实楼主也没输多少,他今天的亏损也是很小的完成了实战任务不错了。
回复 支持 反对

使用道具 举报

801

主题

2万

回帖

1万

金币

铂金用户

积分
95086

老会员精华勋章魅力达人

发表于 2024-5-30 21:25 来自手机 | 显示全部楼层
梅球王 发表于 2024-5-30 20:42
- n/ J7 \* q- }+ g+ i6 W. N& j) A% ]我觉得楼主每天都玩,赢的时候还是非常的多

9 `6 r- ~. l/ u  D! d' V; u  n  H只要是赢多输小还是高手的,只要菠菜玩下来总体是赢就很好了。
回复 支持 反对

使用道具 举报

1383

主题

5万

回帖

9619

金币

钻石用户

积分
157421

万时之王老会员勤奋勋章交易勋章

发表于 2024-5-30 21:31 | 显示全部楼层
安慰一下楼主了 这个完全靠运气的 运气好了就赚点 不好就输点很正常的
回复 支持 反对

使用道具 举报

3374

主题

8万

回帖

1万

金币

海燕硕士

积分
238062

万时之王老会员精华勋章勤奋勋章交易勋章光影行者

发表于 2024-5-30 21:43 | 显示全部楼层
不过这样的亏损了一点点,还是看起来问题不大的,希望下一次好运
回复 支持 反对

使用道具 举报

3374

主题

8万

回帖

1万

金币

海燕硕士

积分
238062

万时之王老会员精华勋章勤奋勋章交易勋章光影行者

发表于 2024-5-30 21:43 | 显示全部楼层
allin 发表于 2024-5-30 21:314 E! c* N; I0 a' a) j2 @
安慰一下楼主了 这个完全靠运气的 运气好了就赚点 不好就输点很正常的

) ]' y; U( F5 T' x+ T7 y  ^8 Q8 |这样的感觉看起来还是比较差的一点点,不过问题不大,期待一下子赚回来
回复 支持 反对

使用道具 举报

3374

主题

8万

回帖

1万

金币

海燕硕士

积分
238062

万时之王老会员精华勋章勤奋勋章交易勋章光影行者

发表于 2024-5-30 21:44 | 显示全部楼层
linx1978 发表于 2024-5-30 21:24& C  Z$ P, H( ]: Z
其实楼主也没输多少,他今天的亏损也是很小的完成了实战任务不错了。
  r, W3 M* l& |- B9 h
这样的输赢的结果也是可以接受的,不过玩游戏就肯定是有赢有输的
回复 支持 反对

使用道具 举报

3770

主题

8万

回帖

1万

金币

海燕硕士

积分
242151

万时之王老会员精华勋章勤奋勋章

发表于 2024-5-30 22:31 | 显示全部楼层
我觉得你这一次确实也是玩的很不好啊
回复 支持 反对

使用道具 举报

3770

主题

8万

回帖

1万

金币

海燕硕士

积分
242151

万时之王老会员精华勋章勤奋勋章

发表于 2024-5-30 22:31 | 显示全部楼层
lantianyun 发表于 2024-5-30 21:44
2 N7 d8 E1 Q3 O  ]7 a这样的输赢的结果也是可以接受的,不过玩游戏就肯定是有赢有输的
3 I: O9 C  ~7 p. H
不管怎么样,还是希望下一次能够成功的盈利回来。
回复 支持 反对

使用道具 举报

3770

主题

8万

回帖

1万

金币

海燕硕士

积分
242151

万时之王老会员精华勋章勤奋勋章

发表于 2024-5-30 22:31 | 显示全部楼层
lantianyun 发表于 2024-5-30 21:43
/ g, Q9 T4 L% D* m这样的感觉看起来还是比较差的一点点,不过问题不大,期待一下子赚回来 ...

4 O5 `" _9 Z, w  k3 o( R这个看来确实还是差了一点,有的时候希望下一次加油。
回复 支持 反对

使用道具 举报

您需要登录后才可以回帖 登录 | 立即注册

本版积分规则

广告合作|评测有奖|福利汇|论坛简介|钱包合集|手机版|小黑屋|Archiver|海燕论坛

快速回复 返回顶部 返回列表