找回密码
 立即注册
澳门威尼斯人
U8
U18
海燕招商
A
蓝盾
e世博
islot.
申博亚洲
澳门银河
B
开云
腾博会
德信
C级广告商
吉祥坊
华体会
查看: 860|回复: 94

[彩票] 晚上的彩票非常顺利收米390多块钱

[复制链接]

59

主题

2694

回帖

2058

金币

银牌会员

积分
10855

老会员

发表于 2026-3-14 18:41 | 显示全部楼层 |阅读模式

马上注册,结交更多好友,享用更多功能,让你轻松玩转社区。

您需要 登录 才可以下载或查看,没有账号?立即注册

×
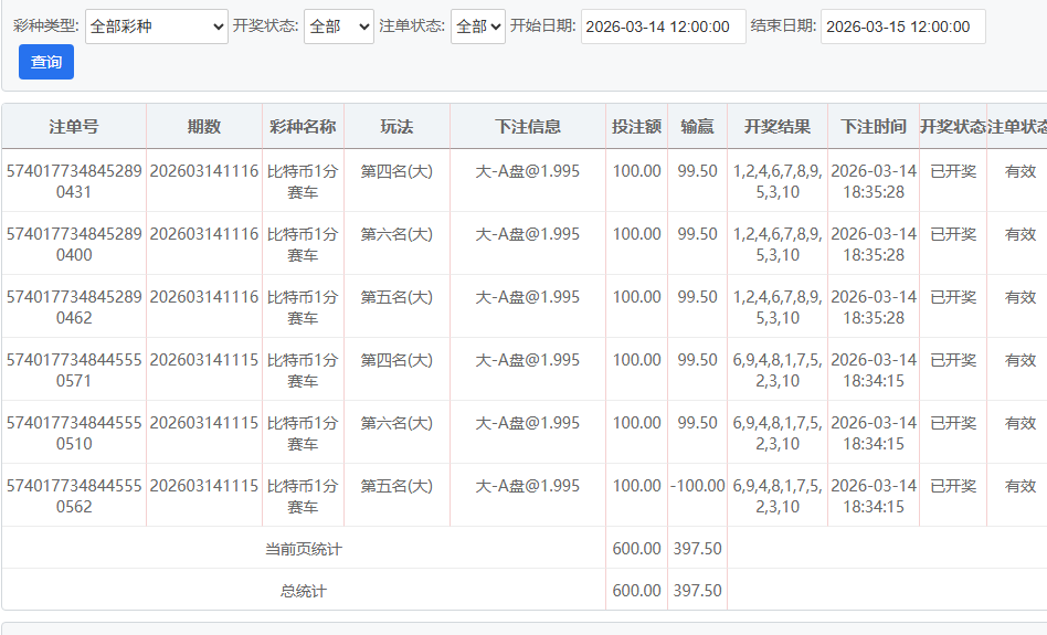
晚上的比特赛车居然能顺利赢到390多块钱,依旧是按100-200-300-450-600的节奏来下注。2 L3 N6 }. X( w$ O" Z
1.jpg
" ^7 d: V3 ?$ v$ @7 Z3 r# M! ?/ n 2.jpg
8 `' H( u$ N+ M* d% p4 D& T6 N$ v+ v- L% A& [
( }4 s) C5 d3 z
; \0 |; N. |, U( ]9 m8 R, y

& }( e" E- S  e3 A) T* i

评分

参与人数 1金币 +6 收起 理由
海燕RG + 6 实战分享

查看全部评分

回复

使用道具 举报

210

主题

1万

回帖

1561

金币

千足金牌会员

积分
43242

老会员

发表于 2026-3-14 19:58 | 显示全部楼层
楼主玩彩票游戏非常有策略,更多结果来看也是有效果收获
回复 支持 反对

使用道具 举报

4

主题

76

回帖

643

金币

高级用户

积分
1548
发表于 2026-3-14 20:06 | 显示全部楼层
还是楼主高啊,这场令人满意   
回复 支持 反对

使用道具 举报

7

主题

2万

回帖

1万

金币

铂金用户

积分
78690

光影行者

发表于 2026-3-14 20:38 | 显示全部楼层
这节奏稳得一批,小步慢跑不贪真能扛住波动,下次试试前几轮压更轻点
回复 支持 反对

使用道具 举报

2

主题

8492

回帖

9249

金币

千足金牌会员

积分
43472
发表于 2026-3-15 02:24 | 显示全部楼层
比特赛车按那阶梯节奏下居然收了390多,顺的时候这注码走得还挺稳啊
回复 支持 反对

使用道具 举报

1571

主题

8万

回帖

2万

金币

海燕硕士

积分
255758

万时之王老会员精华勋章勤奋勋章交易勋章光影行者

发表于 2026-3-15 05:48 | 显示全部楼层
楼主也是非常给力的收米了,非常满意的成绩
回复 支持 反对

使用道具 举报

1571

主题

8万

回帖

2万

金币

海燕硕士

积分
255758

万时之王老会员精华勋章勤奋勋章交易勋章光影行者

发表于 2026-3-15 05:48 | 显示全部楼层
蔬菜沙拉 发表于 2026-3-14 20:385 q3 p) C  O( H. d3 Y% Y% B
这节奏稳得一批,小步慢跑不贪真能扛住波动,下次试试前几轮压更轻点
' c( k+ W" s9 S
我们都是非常喜欢这样的盈利,要祝贺一下楼主的
回复 支持 反对

使用道具 举报

1571

主题

8万

回帖

2万

金币

海燕硕士

积分
255758

万时之王老会员精华勋章勤奋勋章交易勋章光影行者

发表于 2026-3-15 05:48 | 显示全部楼层
思维认知 发表于 2026-3-15 02:24
9 l( s$ r# P' A比特赛车按那阶梯节奏下居然收了390多,顺的时候这注码走得还挺稳啊
, U3 d. c% T- X9 Q; H2 a
楼主是个玩彩票的高手,非常让人羡慕的了
回复 支持 反对

使用道具 举报

7

主题

1万

回帖

5889

金币

千足金牌会员

积分
52431

老会员光影行者

发表于 2026-3-15 06:32 | 显示全部楼层
节奏控制得不错,390的收益确实让人心里舒坦,这个下注模式挺稳的
回复 支持 反对

使用道具 举报

0

主题

1731

回帖

3395

金币

银牌会员

积分
11899
发表于 2026-3-15 06:56 | 显示全部楼层
比特赛车这节奏居然能捞到390多?100起步一步步加居然没翻船,手气是真顺啊,羡慕了
回复 支持 反对

使用道具 举报

0

主题

1731

回帖

3395

金币

银牌会员

积分
11899
发表于 2026-3-15 06:57 | 显示全部楼层
思维认知 发表于 2026-3-15 02:24( w. N# J, ^, p( l; v' a
比特赛车按那阶梯节奏下居然收了390多,顺的时候这注码走得还挺稳啊

* y3 ]  W8 g4 o% H( L比特赛车那阶梯节奏居然稳收390多,顺的时候注码走得还挺舒服,看来摸对节奏是真省心,不像有时候瞎搞乱飘
回复 支持 反对

使用道具 举报

2430

主题

8万

回帖

5215

金币

海燕硕士

积分
223908

老会员超级精华精华勋章美女勋章勤奋勋章交易勋章万时之王

发表于 2026-3-15 07:22 | 显示全部楼层
彩票可以赚到这么多的钱也不容易
回复 支持 反对

使用道具 举报

2430

主题

8万

回帖

5215

金币

海燕硕士

积分
223908

老会员超级精华精华勋章美女勋章勤奋勋章交易勋章万时之王

发表于 2026-3-15 07:22 | 显示全部楼层
NO.2 发表于 2026-3-15 06:57
- m7 }( h+ @* ^+ E8 ?- {& o3 X+ Q比特赛车那阶梯节奏居然稳收390多,顺的时候注码走得还挺舒服,看来摸对节奏是真省心,不像有时候瞎搞乱 ...

! f' m' }  U* b( \  [- K有个好的节奏才能稳定的搞钱来的呀
回复 支持 反对

使用道具 举报

2430

主题

8万

回帖

5215

金币

海燕硕士

积分
223908

老会员超级精华精华勋章美女勋章勤奋勋章交易勋章万时之王

发表于 2026-3-15 07:22 | 显示全部楼层
cwx1994 发表于 2026-3-15 05:482 w$ {! [6 O. R( |1 L
楼主是个玩彩票的高手,非常让人羡慕的了
% V+ c# p0 ?7 I" O6 L* j; K7 `* o, X
确实也算一个高手吧,这样才能赚到钱
回复 支持 反对

使用道具 举报

2430

主题

8万

回帖

5215

金币

海燕硕士

积分
223908

老会员超级精华精华勋章美女勋章勤奋勋章交易勋章万时之王

发表于 2026-3-15 07:22 | 显示全部楼层
123 发表于 2026-3-14 20:06) b( q' ]1 [; J' f4 a, ?6 O# A# c( l
还是楼主高啊,这场令人满意
  |) f8 i0 V/ f
也没有什么好羡慕的吧,几百块钱而已
回复 支持 反对

使用道具 举报

您需要登录后才可以回帖 登录 | 立即注册

本版积分规则

广告合作|福利汇|论坛简介|钱包教程|手机版|小黑屋|Archiver|海燕论坛

快速回复 返回顶部 返回列表