找回密码
 立即注册
澳门威尼斯人
U8
U18
海燕招商
A
蓝盾
e世博
islot.
申博亚洲
B
开云
腾博会
德信
C级广告商
吉祥坊
华体会
查看: 17256|回复: 15

[足球推荐] 2025年08月02日19:35 中超 成都蓉城VS山东泰山

 火.. [复制链接]

229

主题

3470

回帖

465

金币

银牌会员

积分
10770

老会员交易勋章

发表于 2025-8-2 16:40 | 显示全部楼层 |阅读模式

马上注册,结交更多好友,享用更多功能,让你轻松玩转社区。

您需要 登录 才可以下载或查看,没有账号?立即注册

×
推荐:小3.5
北京时间2025821935 将迎来中超一场比赛,成都蓉城迎战山东泰山,两只都是中超的豪强,成都蓉城本赛季表现不错,但是山东泰山的表现就有些差强人意,本场还是比较有看点的。
2-1.png
积分分析
目前比赛进行了18轮,成都蓉城当前取得了1143负的战绩拿到了37的积分,目前排名联赛第4,对手山东泰山本赛季仅取得了846负的战绩,近拿到了26的积分,目前排名联赛第5,虽然排名仅差1个但是积分分差已经来到了11分。
2-2.png
战绩分析:
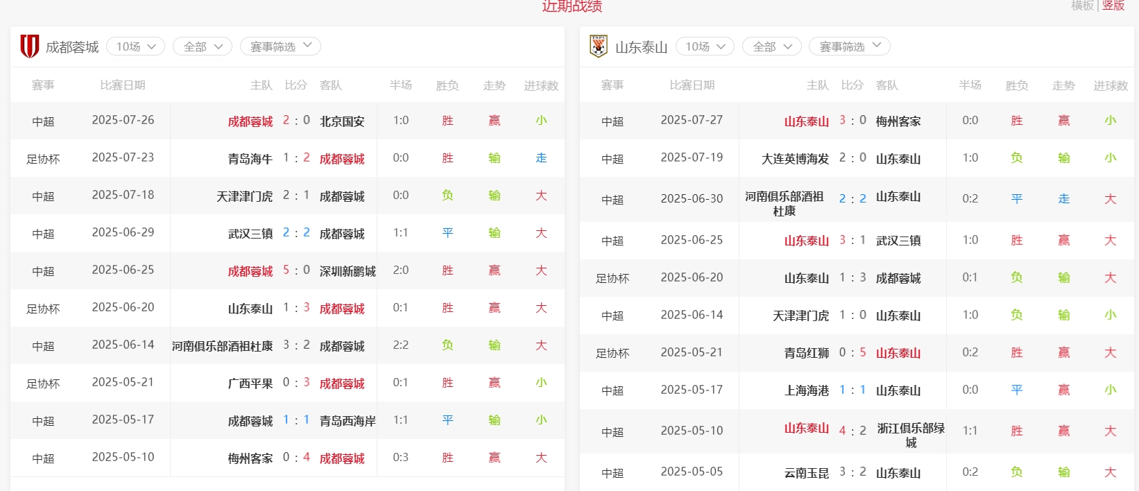
两队历史交手记录上,成都蓉城面对山东泰山的比赛取得414负的战绩,基本上是平分秋色,但是今年的首回合联赛和足协杯山东泰山被成都蓉城双杀。近十场比赛成都蓉城港取得了622负的战绩,状态还是非常不错的。山东泰山近十场比赛取得了424负的战绩就显得比较一般。
2-3.png 2-4.png
盘口分析:
本赛季成都蓉城的表现还是比较不错的,反观山东泰山就差了很多,山东泰山这个赛季基本没什么希望了,本场盘口给到了成都蓉城让1球也比较合理,不过大小给到了3.5实在是大了些,支持小球。
推荐:小3.5
5 m9 T9 d5 Q0 |$ Q! `$ p
fakename.png

5 I4 E; P& j" e" S, G2 V( V
回复

使用道具 举报

53

主题

9448

回帖

4170

金币

金牌会员

积分
25753

老会员

发表于 2025-8-2 16:42 | 显示全部楼层
看看这场最后是不是出小球吧,中超没关注
回复 支持 反对

使用道具 举报

0

主题

9811

回帖

4709

金币

金牌会员

积分
30939

老会员

发表于 2025-8-2 17:57 | 显示全部楼层
中超的比赛,小球还是有不少的,希望这一场的小球是能够红起来的。
回复 支持 反对

使用道具 举报

2万

主题

1万

回帖

2万

金币

版主

积分
94562

超级精华老会员版主勋章

发表于 2025-8-2 19:28 | 显示全部楼层
这场我也是看好小球的,两支球队实力都不错的,估计会猥亵发育了啊
回复 支持 反对

使用道具 举报

2万

主题

1万

回帖

2万

金币

版主

积分
94562

超级精华老会员版主勋章

发表于 2025-8-2 19:33 | 显示全部楼层
你说的都对 发表于 2025-8-2 17:57% w) Z: ?5 x8 n( g1 c
中超的比赛,小球还是有不少的,希望这一场的小球是能够红起来的。
' b( n, ~3 W; r
有时候死活不进的,也有的时候进很多的,就看临场发挥了啊
回复 支持 反对

使用道具 举报

480

主题

3万

回帖

4665

金币

铂金用户

积分
84327

老会员美女勋章勤奋勋章交易勋章

发表于 2025-8-2 20:03 | 显示全部楼层
也是一场小球了也是可以的,应该也不会有更多的进球了吧
回复 支持 反对

使用道具 举报

3365

主题

4万

回帖

1308

金币

钻石用户

积分
110860

万时之王老会员勤奋勋章交易勋章

发表于 2025-8-2 23:28 | 显示全部楼层
成都2比1,全场三球, 楼主小球也是成功命中了, 看得还是很准的了。
回复 支持 反对

使用道具 举报

3612

主题

6万

回帖

2668

金币

钻石用户

积分
199292

万时之王老会员勤奋勋章交易勋章

发表于 2025-8-3 06:55 | 显示全部楼层
2-1打出来一个小球的结果了,楼主的推荐小球很准确的太好了
回复 支持 反对

使用道具 举报

3612

主题

6万

回帖

2668

金币

钻石用户

积分
199292

万时之王老会员勤奋勋章交易勋章

发表于 2025-8-3 06:55 | 显示全部楼层
莫扎特06 发表于 2025-8-2 23:28
9 }0 ?  e! r0 p成都2比1,全场三球, 楼主小球也是成功命中了, 看得还是很准的了。

8 i) `6 W9 u( ~1 t# s这一场比赛全场进了3个球了,猜对了小球也是值得高兴的结果了太好了
回复 支持 反对

使用道具 举报

1369

主题

5万

回帖

8708

金币

钻石用户

积分
155546

万时之王老会员勤奋勋章交易勋章

发表于 2025-8-3 15:52 | 显示全部楼层
成都蓉城2-1山东泰山楼主的小球也是稳稳的收米了 恭喜一下楼主的啊
回复 支持 反对

使用道具 举报

1369

主题

5万

回帖

8708

金币

钻石用户

积分
155546

万时之王老会员勤奋勋章交易勋章

发表于 2025-8-3 15:53 | 显示全部楼层
初秋2323a 发表于 2025-8-2 20:037 K" X- n; D) b0 h
也是一场小球了也是可以的,应该也不会有更多的进球了吧

5 N% T0 I$ [# j1 z: }成都蓉城和山东泰山的防守都是不错的 楼主去小球也是很稳健啊
回复 支持 反对

使用道具 举报

1369

主题

5万

回帖

8708

金币

钻石用户

积分
155546

万时之王老会员勤奋勋章交易勋章

发表于 2025-8-3 15:53 | 显示全部楼层
莫扎特06 发表于 2025-8-2 23:28! `5 Q7 b5 I1 T) P
成都2比1,全场三球, 楼主小球也是成功命中了, 看得还是很准的了。
/ Y9 U- k- H: O3 t+ T0 L2 c
中超的比赛小球也是很多的 希望大家可以多玩一下小球啊
回复 支持 反对

使用道具 举报

1369

主题

5万

回帖

8708

金币

钻石用户

积分
155546

万时之王老会员勤奋勋章交易勋章

发表于 2025-8-3 15:53 | 显示全部楼层
dollar 发表于 2025-8-3 06:55
; J6 i( y. U; J. i2-1打出来一个小球的结果了,楼主的推荐小球很准确的太好了
0 P! e! Q2 V  c' W: Q( a! K5 A
楼主的推荐也是非常的靠谱啊 希望你能够积极的跟进啊
回复 支持 反对

使用道具 举报

2549

主题

5万

回帖

7564

金币

钻石用户

积分
175265

万时之王老会员精华勋章勤奋勋章交易勋章

发表于 2025-8-4 02:17 来自手机 | 显示全部楼层
dollar 发表于 2025-8-3 06:553 c5 p1 f9 X9 V9 j6 Z: @6 R. G# h
2-1打出来一个小球的结果了,楼主的推荐小球很准确的太好了
/ _+ @; H1 _) w" i3 ]5 T3 q
这场球比赛结果2:1,全场进了3个球,楼主推荐小3.5球红单了,不错的
回复 支持 反对

使用道具 举报

2549

主题

5万

回帖

7564

金币

钻石用户

积分
175265

万时之王老会员精华勋章勤奋勋章交易勋章

发表于 2025-8-4 02:17 来自手机 | 显示全部楼层
allin 发表于 2025-8-3 15:53
+ F5 g! U8 w2 ~7 z* \( [* i楼主的推荐也是非常的靠谱啊 希望你能够积极的跟进啊

/ N1 q' c2 p) k7 ?& C# Y, o楼主看大小球还是很有经验的了,这次推荐又是顺利收米,真是不错的
回复 支持 反对

使用道具 举报

您需要登录后才可以回帖 登录 | 立即注册

本版积分规则

广告合作|评测有奖|福利汇|论坛简介|钱包合集|手机版|小黑屋|Archiver|海燕论坛

快速回复 返回顶部 返回列表